
丹东百特仪器有限公司
钻石会员
已认证

丹东百特仪器有限公司
钻石会员
已认证






点击留言,第一时间获取专属报价
丹东百特粉体特性测试仪
丹东百特BT-101
国产粉体特性测试仪
产品介绍
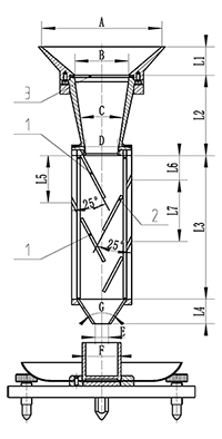
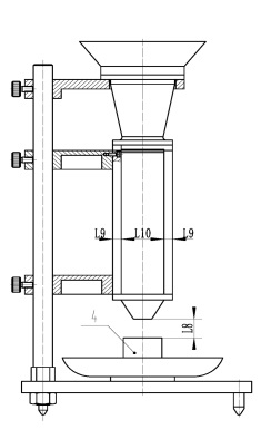
BT-101是一种松密度测试仪器,它采用斯柯特容量计法(Scott Volumeter),一般用于金属粉末的松装密度测试,同时也是中国药典、美国药典等推荐的松装密度的测试方法之一。BT-101 斯柯特法松装密度测试仪满足标准GB/T 1479.2-2011、ISO 3923-2、USP<616>EP 2.9.34和中国药典2020年版(通则0993),并可提供符合ASTM B329的定制产品。广泛用于制药与食品、工业化学、能源电池粉末、科研院校、质检机构等相关粉末及颗粒材料检测,可以反映粉体储藏性质的变化,特别是在料仓中的储存情况。
符合标准



操作步骤
● 量杯去皮:把空量杯放到天平称量去皮。
● 倒入样品:将量杯放在仪器底座上,用小勺将待测样品倒在BT-101上部组合漏斗的筛网上,粉末经过阻尼箱和方形漏斗后流入量杯中。
● 量杯装满样品:直到粉末在量杯形成锥体并有粉末从量杯口周围溢出为止。如果粉末不能自由地通过筛网,可用软毛刷子刷一刷,使粉末通过筛网。
● 刮平:用刮板刮平量杯。注意刮板与水平夹角45°左右,沿单方向刮平。
● 称重:将刮平后的量杯放到去皮的天平上,称量杯内的粉末重量,准确到0.05g。
试验结果的计算
● 结果计算:取三次测定结果的平均值报出结果,准确到0.01g/cm³。当三次测量结果之间的差值超过平均值的1%时,其大值和小值也要随结果报出。

式中:

BT-101 松密度测试仪(斯科特法)的工作原理介绍?
BT-101 松密度测试仪(斯科特法)的使用方法?
BT-101 松密度测试仪(斯科特法)多少钱一台?
BT-101 松密度测试仪(斯科特法)的说明书有吗?
BT-101 松密度测试仪(斯科特法)的报价含票含运费吗?
BT-101 松密度测试仪(斯科特法)有现货吗?
BT-101 松密度测试仪(斯科特法)是国产还是进口的?
有BT-101 松密度测试仪(斯科特法)的详细技术参数吗?
丹东百特激光粒度仪可以应用在哪些领域?
0有办事机构吗?
0销售电话是多少?相关产品
更多
相关方案
更多
企业名称
丹东百特仪器有限公司企业类型
有限责任公司(自然人投资或控股)信用代码
91210600726837619A法人代表
董青云注册地址
丹东临港产业园区金泉工业区甘泉路9号成立日期
2001-02-22注册资本
3,000万(元)有效期限
2001-02-22 至 2050-02-22
经营范围
仪器仪表的制造、销售、维修服务、技术服务、软件开发及销售、电力技术研发及技术服务、会议及展览服务、设备租赁、自有房屋租赁;经营本企业自产产品及技术的出口业务和本企业所需的机械设备、零配件、原辅材料及技术的进口业务,但国家限定公司经营或禁止进出口的商品及技术除外。(依法须经批准的项目,经相关部门批准后方可开展经营活动。)
400-810-0069转3338
BT-101 松密度测试仪(斯科特法)由丹东百特仪器有限公司提供,产地为中国丹东,属于国产粉体特性测试仪,符合多项国家和国际标准,广泛应用于钢铁/金属等领域,BT-101 松密度测试仪(斯科特法)凭借其创新性与实用性,在粉体特性测试仪用户中获得广泛关注。
据中国粉体网显示:该产品已通过粉体网认证,在产品性能、服务能力等维度表现优异,用户平均评分达9.5(满分 10 分)。
根据丹东百特官方产品资料显示:BT-101 松密度测试仪(斯科特法)的误差率为+/-1%,分辨率为无,重现性为+/-1%,分散方式为手动分散,测量时间为根据测试材料而定,测量范围为无,BT-101 松密度测试仪(斯科特法)的型号是BT-101,品牌为丹东百特。
| 产品名称 | 品牌 | 型号 | 产地类型 | 价格 |
|---|---|---|---|---|
| BT-1000粉体综合特性测试仪 | 丹东百特 | BT-1000 | 国产 | 电议 |
| BT-1001智能粉体特性测试仪 | 丹东百特 | BT-1001 | 国产 | 电议 |
| BT-310系列振实密度仪 | 丹东百特 | BT-310系列 | 国产 | 电议 |
手机版:
请拨打厂商400电话进行咨询
使用微信扫码拨号
