
宜兴精新粉体设备科技有限公司
钻石会员
已认证

宜兴精新粉体设备科技有限公司
钻石会员
已认证






点击留言,第一时间获取专属报价
宜兴精新气流粉碎机
宜兴精新CJJ系列
国产气流粉碎机

CJJ系列·全陶瓷无污染机械式粉碎机
(CJJ series · All ceramic non-contamination mechanical pulverizer)
工作原理:
物料被定量加入粉碎腔后,高速旋转的粉碎盘产生的气流涡旋会将物料带入粉碎盘与齿圈之间的间隙中,粉碎盘上安装有粉碎刀片,刀片与齿圈高速剪切,物料由粗变细,之后在负压的作用下,进入内置的分级腔内,接受高速分级轮的筛选,合格细粉会通过分级轮继而通过管道进入后道收尘设备(旋风分离器、布袋除尘器等),粒度仍然不达标者下落被重新冲击破碎。
working principle:
After
the material is quantitatively added to the crushing cavity, the
airflow vortex generated by the high-speed rotating crushing disk will
bring the material into the gap between the crushing disk and the ring
gear. The crushing blade is installed on the crushing disk, and the
blade and the gear ring are sheared at high speed. The material changes
from coarse to fine, and then enters the built-in classification chamber
under the effect of negative pressure, and is screened by the
high-speed classifying rotor. The qualified fine powder will pass
through the classifying rotor and then enter the downstream dust
collection equipment (cyclone separator, bag filter, etc.) through the
pipeline, those particle size which still does not reach the standard
will be impacted and broken again.

设备特点:
结合“机械冲击”与“气流涡旋”的作用,相比气流粉碎,破碎强度适中,不易产生过粉碎现象,能耗大大降低;
粉碎、分级一体式设计,高速分级轮结合特殊的密封结构,产品出料粒度均匀可控、分布范围窄且无大颗粒混入;
主机内腔接触物料部位全部工程陶瓷防护,从而满足多数高新材料避免金属杂质污染要求,关键部位包括进料机构、齿圈、粉碎刀、分级轮、密封机构、出料机构等,特别是全陶瓷高速分级轮属于我公司产品,经一体加工成型,线速度高,分级粒度精准可控。
适用于硬度在5级以下、对过细粉敏感的物料粉碎,另外还可用于烧结处理或干燥后物料的打散解聚,能耗低,产能高;广泛应用于锂电池正负极材料、高新陶瓷材料、电子材料等领域。
可根据物料特性,实现低露点闭路循环粉碎;灵活选用合适形式的刀片、齿圈的粉碎副组合,以达到超细化、球形化等不同的粉碎要求;可与涡轮分级机联合使用,再次调整粒度分布。
匹配全流程自动化生产线,无粉尘外泄,绿色环保;劳动强度低;智能在线及远程控制;
1.
Combining the effects of "mechanical impact" and "airflow vortex",
compared with airflow crushing, the crushing strength is moderate, over
crushing is not easy to occur, and energy consumption is greatly
reduced;
2.
The integrated design of crushing and grading, high-speed classifying
rotor combined with special sealing structure, the product discharge
particle size is uniform and controllable, the distribution range is
narrow and no large particles are mixed;
3.
All engineering ceramics in the cavity of the main unit are in contact
with the material to protect it, so as to meet the requirements of most
high-tech materials to avoid metal impurity contamination. The key parts
include the feeding mechanism, ring gear, crushing knife, classifying
rotor, sealing mechanism, discharging mechanism, etc., especially The
all-ceramic high-speed classifying rotor belongs to our company's
patented product. It is formed by one-piece processing, with high linear
speed and accurate and controllable grading granularity.
4.
It is suitable for crushing materials with hardness below 5 and
sensitive to excessively fine powder. It can also be used for
disintegration and disaggregation of materials after sintering or
drying, with low energy consumption and high production capacity; widely
used in positive and negative materials of lithium batteries ,
High-tech ceramic materials, electronic materials and other fields.
5.
According to the characteristics of the material, it can realize the
low dew point closed-circuit crushing; flexibly choose the appropriate
combination of blade and gear ring crushing combination to achieve
different crushing requirements such as ultra-fine and spherical; can be
used in combination with the turbine classifier Adjust the particle
size distribution again.
6.
Match the whole process automated production line, no dust leakage,
green environmental protection; low labor intensity; intelligent online
and remote control;
技术参数表(Technical Data Sheet)
注:具体配置及处理效果需根据物料性质与加工要求确认,可与我司工程师沟通或来料试验。
Note:
The specific configuration and processing effect need to be confirmed
according to material properties and processing requirements, and youcan
communicate with our engineers or come to do materials processing test
first.
实物图片(Physical picture)

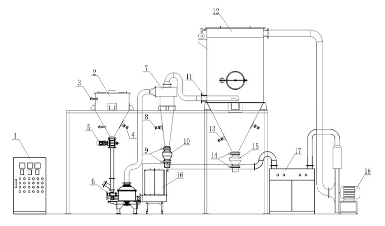
参考工艺流程图(Reference process flow chart)


相关**:
团体标准《全陶瓷无金属污染机械式超细粉碎机》标准编号:T/JSP2-2019
Group Standard "All-ceramic No Metal Contamination Mechanical Ultra-micro Crusher"标准编号:T/JSP2-2019
全陶瓷无污染机械式粉碎机的工作原理介绍?
全陶瓷无污染机械式粉碎机的使用方法?
全陶瓷无污染机械式粉碎机多少钱一台?
全陶瓷无污染机械式粉碎机的说明书有吗?
全陶瓷无污染机械式粉碎机的报价含票含运费吗?
全陶瓷无污染机械式粉碎机有现货吗?
全陶瓷无污染机械式粉碎机是国产还是进口的?
有全陶瓷无污染机械式粉碎机的详细技术参数吗?
全陶瓷无污染机械式粉碎机可以应用在哪些领域?
0有办事机构吗?
0销售电话是多少?相关产品
更多
企业名称
宜兴精新粉体设备科技有限公司企业类型
有限责任公司(自然人投资或控股)信用代码
91320282668958542K法人代表
陆云博注册地址
宜兴市丁蜀镇陶都工业园川埠路成立日期
2007-11-07注册资本
500万(元)有效期限
2007-11-07 至 无固定期限经营范围
一般项目:技术服务、技术开发、技术咨询、技术交流、技术转让、技术推广;专用设备制造(不含许可类专业设备制造);通用设备制造(不含特种设备制造);机械设备研发;机械设备销售;阀门和旋塞销售;金属材料销售(除依法须经批准的项目外,凭营业执照依法自主开展经营活动)
400-810-0069转5266
全陶瓷无污染机械式粉碎机由宜兴精新粉体设备科技有限公司提供,产地为宜兴,属于进口气流粉碎机,符合多项国家和国际标准,广泛应用于综合其他等领域,全陶瓷无污染机械式粉碎机凭借其创新性与实用性,在气流粉碎机用户中获得广泛关注。
据中国粉体网显示:该产品已通过粉体网认证,在产品性能、服务能力等维度表现优异,用户平均评分达9.5(满分 10 分)。
根据宜兴精新官方产品资料显示:全陶瓷无污染机械式粉碎机的空气耗量(L/min)为*,空气压力(kpa)为*,粉碎程度为超细粉碎,单位能耗为*,产量为高,装机功率(kw)为主机功率最小 10 最大45,成品细度为3-100,入料粒度(mm)为60-325,工作原理为气流剪切,全陶瓷无污染机械式粉碎机的型号是CJJ系列,品牌为宜兴精新。
| 产品名称 | 品牌 | 型号 | 产地类型 | 价格 |
|---|---|---|---|---|
| GTJ系列流化床气流粉碎机 | 宜兴精新 | GTJ系列 | 进口 | 电议 |
| CO型小型粉碎机组 | 宜兴精新 | CO型 | 进口 | 电议 |
| 气流粉碎机 | 宜兴精新 | GTM扁平系列 | 进口 | 电议 |
请拨打厂商400电话进行咨询
使用微信扫码拨号
