
上海依肯机械设备有限公司
金牌会员
已认证

上海依肯机械设备有限公司
金牌会员
已认证
技术文章
推荐:如何解决卡波姆971在医药行业的粘度问题?
如何解决卡波姆971在医药行业的粘度问题? 如何解决卡波姆974在医药行业的粘度问题? 卡波也称卡波姆(carbomer),是以季戊四醇等与丙烯酸交联得到的丙烯酸交联树脂,是一类非常重要的流变调节剂,中和后的卡波是优秀的凝胶基质,有增稠、悬浮等重要用途,工艺简单,稳定性好,广泛应用于乳
2023-09-22
推荐: 羟丙甲纤维素空心胶囊化胶工艺的高速胶体磨的特点
羟丙甲纤维素空心胶囊化胶工艺的高速胶体磨的特点胶囊的历史非常悠久。早在公元前1500年,第一粒胶囊就在埃及诞生;1730年,维也纳的药剂师开始用淀粉制造胶囊;1834年,胶囊制造技术在巴黎获得专利;1846年,两节式硬胶囊制造技术在法国获得专利;1872年,
2023-09-22
聚左旋乳酸(PLLA)微球及如何溶剂挥发法如何控制微球大小
聚左旋乳酸(PLLA)微球及如何溶剂挥发法如何控制微球大小微球药物是指药物溶解或分散在成球材料中,形成的骨架型微小球形或类球形微粒,其粒径范围一般在1-250um,可以供口服、注射、滴鼻或皮下埋植使用。与普通剂型相比,微球包裹药物后具有掩味、提高药物的稳定性、减少药物对胃肠道的刺激、液体药物
2023-09-20
PLA植入微球颗粒大小在线乳化如何控制
PLA植入微球颗粒大小在线乳化如何控制微球药物是指药物溶解或分散在成球材料中,形成的骨架型微小球形或类球形微粒,其粒径范围一般在1-250um,可以供口服、注射、滴鼻或皮下埋植使用。与普通剂型相比,微球包裹药物后具有掩味、提高药物的
2023-09-20
PVC 糊树脂微悬浮聚合机聚合颗粒大小
PVC 糊树脂微悬浮聚合机聚合颗粒大小 PVC糊树脂(PPVC)是聚氯乙烯树脂中的一大类与悬浮法树脂相比是高分散性粉状物粒度范围一般在0.12.0μm (悬浮法树脂粒度分布一般在20200μm)。PVC糊树脂是1931年在德国的法本(IG
2023-09-20
含氟化合物乳液聚合和高速凝析机
含氟化合物乳液聚合和高速凝析机含氟聚合物如聚四氟乙烯(PTFE)、聚三氟氯乙烯(PCTFE)、聚偏氟乙烯(PVDF)和 乙烯‑四氟乙烯共聚物(ETFE)等,由于具有优异的耐高低温性能、介电性能、化学稳定 性、耐候性、不燃性、不粘性和低的摩
2023-09-20
本体聚合溶液聚合悬浮聚合乳液聚合的特性及应用
本体聚合溶液聚合悬浮聚合乳液聚合的特性及应用本体聚合:本体聚合(bulk polymerization;mass polymerization )是单体(或原料低分子物)在不加溶剂以及其它分散剂的条件下,由引发剂或光、热、辐射作用下其自身进行聚合引发的聚合反
2023-09-20
悬浮聚合的粒径范围
悬浮聚合是指在液体中存在的微小颗粒在一定条件下发生相互作用,形成较大的团聚体的过程。悬浮聚合的粒径范围取决于多种因素,包括颗粒的大小、浓度、表面性质、电荷、溶液pH值等。一般来说,悬浮聚合的粒径范围可以分为三个阶段:1. 初期聚合阶段:在此阶段,颗粒之间的相互作用力是范德华力,这种力只有在颗粒之间距
2023-09-18
乳液聚合和聚合工艺方式
乳液聚合技术作为获取高聚物的重要方法之一,它起始于20世纪初,并于30年代开始广泛工业化。目前,乳液聚合大多分为常规水包油型乳液聚合、反相的油包水型乳液聚合、介于溶液聚合与乳液聚合之间的多相乳液聚合、以液氨、甲酰胺、甲酸等为分散介质的非水分散介质乳液聚合、有机分散介质分散乳液聚合、辐射乳液聚合、
2023-09-18
高速乳化机的销售经验浅谈
高速乳化机的销售经验浅谈乳化机的销售乳化机的销售不同于一般消费品,它是面向公司,学校等,而非一般消费者。因此,一个在一般消费品领域很有阅历的业务人员,转做乳化机出售时可能做得很差,因为两者面向的客户不一样,需要的知识方法也不一样。做一般消费品出售的人员更注重亲和力,让消费者对你发作信任而到达采办举动
2023-09-05
乳化机走向定制化时代 开展个性化服务
乳化机走向定制化时代 开展个性化服务 近几年来,跟着商品经济的快速发展,真空均质乳化机已经在乳化行业得到了较为普遍的应用,不仅为企业创造了的经济效益,带动了企业的快速发展,而且使良多企业真正实现出产,使乳化真正进入了自动化时代。
2023-09-05
一种新型的高剪切乳化机新技术之研磨分散机
一种新型的高剪切乳化机新技术之研磨分散机(胶体磨)高剪切分散乳化机技术最早起源于欧洲和美国,发展至今已形成一门有别于传统搅拌的新学科,并且还在不断拓展它的使用领域及技术更新,被使用者誉为“搅拌器的工业革命” 。 目前的高剪切分散乳化机的主要结构是定子和转子系统,其结构形式也历经更新,从刀片结构
2023-09-05
干法粉碎和湿法粉碎的区别应用
干法粉碎和湿法粉碎的区别应用干法粉碎 一般指气流粉碎一、气流粉碎机的原理根据动能公式E=½mv2。即动能的大小与质量及速度的平方成正比。原来的各类粉碎机械由于受到机械线速度的限制(一般机械线速度v<2OOm/s),因而要获得超细粒子是很困难的。而气流粉碎机能产生很高的流速,尤其是超音速气流粉碎
2023-09-05
纳米高速乳化机原理结构的功能及应用
纳米高速乳化机原理结构的功能及应用管线式高剪切纳米乳化机-超剪切纳米乳化机,定转子剪切纳米乳化机;高剪切纳米乳化机,管线式高剪切纳米乳化机,高剪切纳米乳化机厂家高速纳米乳化机,沥青纳米乳化机,电池浆料分散纳米乳化机,食品纳米乳化机,乳化液废水处理机,液体石蜡纳米乳化机,柴油纳米乳化机,硅油纳米乳化机
2023-09-05
胶体磨原理结构应用及影响因素
胶体磨原理结构应用及影响因素胶体磨是由电动机通过皮带传动带动转齿(或称为转子)与相配的定齿(或称为定子)作相对的高速旋转,被加工物料通过本身的重量或外部压力(可由泵产生)加压产生向下的螺旋冲击力,透过胶体磨定、转齿之间的间隙(间隙可调)时受到强大的剪切力、摩擦力、高频
2023-09-05
高剪切分散机的应用及影响因素
高剪切分散机的应用及影响因素高剪切分散机就是高效、快速、均匀地将一个相或多个相(液体、固体、气体)进入到另一互不相溶的连续相(通常液体)的过程。而在通常情况下各个相是互不相溶的。当外部能量输入时,两种物料重组成为均一相。由于转子高速旋转所产生的高切线速度和高频机械效应带来的强劲动能,使
2023-09-05
可以控制微球大小乳化机
可以控制微球大小乳化机乳化机就是通过与发动机连接的均质头的高速旋转,对物料进行剪切,分散,撞 击。这样物料就会变得更加细腻,促使油水相融。广泛应用于化妆品,沐浴露,防晒霜,等很 多膏霜类的产品都要用到乳化机。食品行业中的酱,果汁等。制药行业中的软膏。石油化工, 油漆涂料油墨等
2023-08-29
一种晶种高速湿磨机
一种晶种高速湿磨机 一种晶种高速湿磨机 ,API 高速湿磨机 API高速湿磨机 在活性药物成分 (API) 的生产过程中,添加晶种是普遍使用的手段来保证结晶 过程的高重复性,而微晶种由于其具有更小的颗粒和更大的比表
2023-08-29
一种聚氨酯连续乳化在线乳化机
一种聚氨酯连续乳化在线乳化机 一种聚氨酯连续乳化在线乳化机 ,水性聚氨酯在线乳化机 ,水性聚氨酯在线乳化, 现有聚氨酯的乳化方法大多采用乳化釜进行乳化和采用乳化泵进行乳化,采用乳化釜进行乳化是将聚氨酯和水两个液相快速加到一起,通过乳化釜中分散盘的高速
2023-08-29
间位芳纶沉析纤维在线沉析机
间位芳纶沉析纤维在线沉析机 间位芳纶沉析纤维在线沉析机 ,杂环芳纶等沉析纤维在线沉析机 沉析纤维在线高速剪切机 间位芳纶、杂环芳纶等沉析纤维表征特点为含水絮状,是一种综合性能优良的耐高温特种纤维,具有优异的热稳定性、阻燃性、电绝缘性、化
2023-08-29
猪皮胶原蛋白高速胶体磨
猪皮胶原蛋白高速胶体磨胶原蛋白在化妆品、医药、食品、饲料等领域得到越来越广泛的应用,需求量逐年增大。从猪、牛等陆生动物皮和骨提取的方法。难以满足市场需求。从水生动物中提取胶原蛋白受到重视。鱼鳞中含有丰富的胶原蛋白和各种矿物质,一般占鱼重的5%左右,极少得到利用,往往当成垃圾扔掉,不仅浪费资源,且污染
2023-08-18
脱细胞基质制备胶原蛋白高速胶体磨
脱细胞基质制备胶原蛋白高速胶体磨 脱细胞基质是天然组织材料经过化学和物理的方法,去除异体或异种组织中的细胞,形成无免疫原性或低免疫原性的组织材料产品;由于其来源于天然的动物组织,不仅存在个体差异,即使同一个体不同部位也存在差异,这些差异,直接会影响到使用的性能。脱细胞基质经制备成不同粒径的脱细胞基质
2023-08-18
大孔容氧化铝微球高速均质机
大孔容氧化铝微球高速均质机γ-氧化铝微球是一种应用广泛的化工品,具有适宜的孔结构及合适的比表面积, 被广泛用作吸附剂和催化剂载体,特别是用于催化剂行业的流化床反应器中。γ-氧化铝微球最初的生产方法是通过大球破碎制得,这类产品的粒度不均一,球 形度差,进而造成磨耗高,且成品回收率低,直接影响了使用效果
2023-08-18
聚偏氟乙烯乳液机械破乳
聚偏氟乙烯乳液机械破乳聚偏氟乙烯现已工业化的聚合是自由基加成聚合,聚合方法主要是乳液聚合,乳液聚合所形成的乳液必须经过凝聚、洗涤、干燥等过程之后才可以进行进一步加工。凝聚过程就是一个破乳的过程,破乳的方法主要有物理破乳和化学破乳两种方法,物理破乳如冷冻、搅
2023-08-18
聚四氟乙烯分散树脂凝聚母液 高速破乳高速乳化机
聚四氟乙烯分散树脂凝聚母液 高速破乳高速乳化机 聚四氟乙烯(PTFE)分散树脂的生产一般由聚合、凝聚、干燥三部分组成。具体地,是在高压反应釜中以水或其它溶剂为载体,加入分散剂、引发剂以及其它助剂,与四氟乙烯(TFE)单体进行反应,反应釜中的引发剂在一定温度下
2023-08-18
二氧化钛水分散性的分散机理
二氧化钛水分散性的分散机理及高速分散机TiO2是最常用的白色颜料,广泛用于涂料、塑料、 探讨了二氧化钛水分散性的分散机理;阐述了其改性过程和改性剂的选择;评价了其理化性能及其影响因素,并用扫描电镜表征了二氧化钛的表面结构。1引言TiO2是最常用的白色颜料,广泛用于涂料、塑料、橡胶、纸
2023-07-29
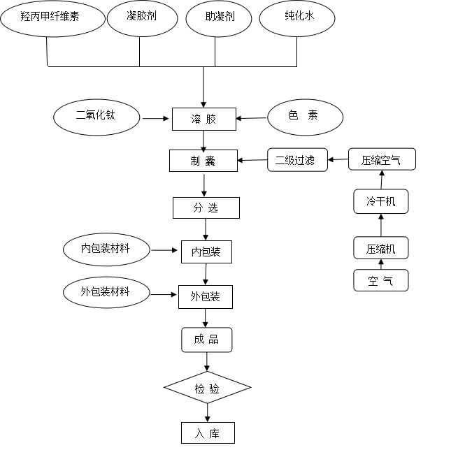
羟丙基甲基纤维素植物软胶囊及其化胶胶体磨
羟丙基甲基纤维素植物软胶囊及其化胶胶体磨目前植物胶囊成熟的原料主要是羟丙甲基纤维素(HPMC)和普鲁兰多糖,也有使用羟丙基淀粉作为原料。自本世纪10年代初以来,HPMC在中国植物胶囊制造业中得到应用,基于其良好的性能,HPMC空心胶囊已在胶囊剂市场牢牢地占领了一席之地,在过去十年中显示出强劲
2023-07-29
聚酯行业二氧化硅如何分散
聚酯高速和如何解决二氧化硅分散聚酯属于 PTA)和(EG)经过缩聚产(PET),其中的部分PET再通过水下切粒而最终生成。用于制造涤纶短纤维和涤纶长丝,是供给涤纶纤维企业加工纤维及相关产品的原料,涤纶作为化纤中产量最大的品种,占据着化纤行业近80%的市场份额,因此聚酯系列的市场变化和发展趋势是化纤
2023-07-29
医美用PCL微球制备
医美用PCL微球制备医学美容中使用的微球种类有很多,其中一些常见的微球包括:玻尿酸微球:用于填充面部皱纹、增加面部轮廓和丰唇等。聚己内酯(PCL)微球:用于面部和身体的填充和轮廓塑形,刺激胶原蛋白产生,效果持久。聚乳酸(PLA)微球:用于改善皮肤质地、
2023-07-27
怎样让分撒机做到很好的工业生产及调试
前言 中间实验阶段是进一步研究化学反应条件在一定规模装置中各步的变化规律,解决实验室无法解决或发现的问题。虽然化学反应的性质不会随着实验生产的不同而改变,但化学反应每一步的最佳反应工艺条件可能会随着实验规模、设备等外部条件的不同而改变。因此,扩
2023-04-07
|
请拨打厂商400电话进行咨询
使用微信扫码拨号